Ook: THQ-ligger, staalbetonligger.
Een hoedligger is een ondersteunende balk waarbij de vorm in doorsnede een hoed vormt (met rechte of schuine verticalen van de hoed).
De flenzen aan weerszijden vormen de randen van de hoed. De hoedligger is meestal een vloerligger, dwz. voor het ondersteunen van (betonnen) vloeren; vaak zal de hoedligger een stalen ligger zijn.
Voordelen van de hoedligger zijn:
- de grotere stijfheid zodat bijvoorbeeld met een lagere liggerhoogte volstaan kan worden
- toepasbaar is voor grote overspanningen
- kan zeer hoge belastingen aan
- hoge mate van indelingsvrijheid van de ruimtes
- vlakke, strakke onderzijde
- (bij taps toelopende variant) door vulling met beton goede akoestische eigenschappen
- (bij taps toelopende variant) geen brandwerende bekleding nodig.
Men spreekt van geïntegreerde vloerliggers of staalbetonliggers wanneer deze volledig in een vloer zijn opgenomen. "Geïntegreerde stalen vloerliggers vormen in combinatie met kanaalplaten, breedplaten of staalplaat-beton vloeren een ijzersterke vloerconstructie in de staal- en betonskeletbouw. De liggers steken onder noch boven de vloer uit. Zodoende worden de stalen liggers aan drie zijden omgeven door beton. Alleen de onderflens blijft vrij. Gelaste stalen vloerliggers maken een snelle en eenvoudige montage van de draagconstructie mogelijk. Er zijn diverse typen geïntegreerde stalen vloerliggers."
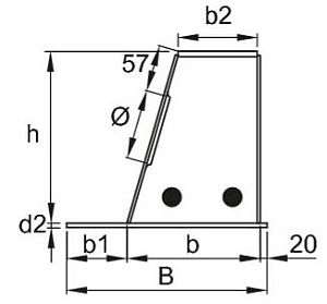
De enigszins taps toelopende liggers met openingen geven bij de overgang met bijvoorbeeld kanaalplaatvloeren een goede binding door de aanvulling met wapening en beton.
De term THQ-ligger betekent Top Hat Q-beam en is dus een andere benaming voor hoedligger.
Wanneer sprake is van één flens dan wordt soms gesproken van een petligger, bijvoorbeeld als randbalk van een betonvloer (zie een afbeelding verderop).
hoedligger, recht, geïntegreerde stalen vloerligger; klik voor groter (grünbauer):![]() |
hoedligger, enigszins taps, met openingen, staalbetonligger, deltabeam (peikko): ![]() |
hoedligger, met he-profiel er loodrecht op (voortman staalbouw): ![]() |
hoedligger, thq, top hat q beam (mouw hoedliggers): ![]() |
speciale hoedligger en petligger, deltabeam , van peikko: ![]() |
![]() |
hoedligger deltabeam, enigszins taps toelopend, met openingen voor betonstort (peikko): ![]() |
hoedligger (voortman staalbouw): ![]() |
Documentatie
- Slanke brandwerende hoofddraagconstructies in staal-beton (met hoed- en petliggers) (van Peikko)
Voor liggers zie eventueel ligger, gewalste ligger, hoedligger (petligger), hünnebeckdrager, I-profiel, kokerligger, patrijspoortligger, plaatligger, profielstaal, raatligger, samengestelde balk, staalverbinding, U-profiel, vakwerkligger, verstijvingsligger, verstijvingsbalk (beton), Vierendeelligger, vollewandligger, vrije oplegging.