Een speun is een scharnier voor een raam of een kastdeur waarmee dat raam of die kastdeur 180 graden kan draaien.
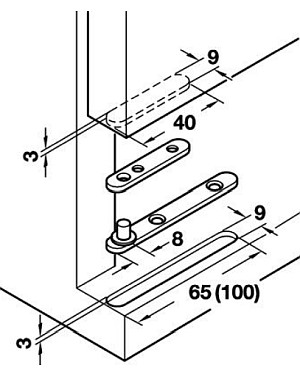
eenvoudige speun, verzinkt, 40/65 mm (meubelbeslag online): ![]() |
tekening behorend bij bovenstaande speun 40/65 mm (meubelbeslag online): ![]() |
Verg. fits.
Eng. pivot