De hangnaad is de speling tussen bijvoorbeeld een deur en het deurkozijn aan de zijde van de scharnieren. De hangnaad is nodig om het uitstekende deel van de scharnieren ruimte te geven en om (toekomstig) klemmen van de deur te voorkomen; door temperatuurverschillen of vochtopname kan de deur iets uitzetten of zelfs een geringe mate scheluw worden. Om die reden dient de hangnaad van naaldhout breder te zijn dan die van loofhout.

Voor de breedte van de hangnaad, de sluitnaad en andere naden: zie de tabel onderaan.

Opmerkingen:
- de naad aan de andere zijde van de deur is de sluitnaad
- mocht een deur op maat geschaafd moeten worden, dan gebeurt dat aan de hangzijde van de deur omdat de sluitzijde arm geschaafd is, dwz. enigszins schuinlopend
- een voordeel van een opdekdeur is dat er geen hangnaad te zien is
- een (te) brede hangnaad die van buiten is te benaderen, is meer inbraakgevoelig
- bij bergingsdeuren wordt een bredere hangnaad aanbevolen (vochtiger omgeving)
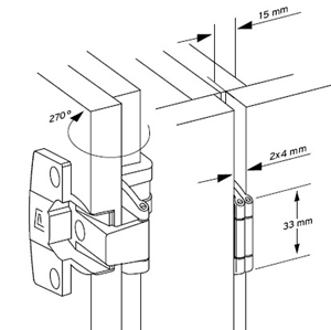
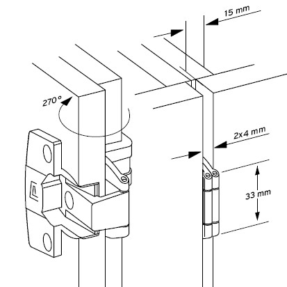
- bij scharnieren op de deur i.p.v. ingekroosd (ingefreesd) is de breedte van de hangnaad de scharnierdikte plus minimaal 2 mm
- om een deur correct af te hangen: in het afhangschema staat aangegeven waar de scharnieren exact geplaatst worden.


bij kastdeuren tegen elkaar (in dit voorbeeld: hangnaad 2x4 mm)


hangnaad, sluitnaad en andere naden, minimale maten, brl 0808;
klik voor groter:


Afbeeldingen Prämeta, GND en SKH.